Каталог товаров
- РАСПРОДАЖА
-
ВЗРЫВОЗАЩИЩЕННОЕ ОБОРУДОВАНИЕ
- Телефоны часы компьютеры взрывозащищенные
- ИЗВЕЩАТЕЛИ ОХРАННЫЕ ВЗРЫВОЗАЩИЩЕННЫЕ
- Извещатель охранный линейный взрывозащищенный
- Извещатель магнитоконтактный взрывозащищенный
- Извещатель охранный объемный взрывозащищенный
- ИЗВЕЩАТЕЛИ ПОЖАРНЫЕ ВЗРЫВОЗАЩИЩЕННЫЕ
- Извещатели ручные взрывозащищенные
- Извещатели дымовые взрывозащищенные
- Извещатели пламени взрывозащищенные
- Извещатели тепловые взрывозащищенные
- ИЗДЕЛИЯ КОММУТАЦИОННЫЕ ВЗРЫВОЗАЩИЩЕННЫЕ, ШКАФЫ
- Коробки коммутационные взрывозащищенные
- Вводы кабельные взрывозащищенные
- Шкафы взрывозащищенные
- МОДУЛИ ПОЖАРОТУШЕНИЯ ВЗРЫВОЗАЩИЩЕННЫЕ
- Модули порошкового пожаротушения взрывозащищенные
- ОПОВЕЩАТЕЛИ ВЗРЫВОЗАЩИЩЕННЫЕ
- Светильники аварийного освещения взрывозащищенные
- Оповещатели взрывозащищенные
- Оповещатели звуковые взрывозащищенные
- Оповещатели свето-звуковые взрывозащищенные
- Оповещатели световые взрывозащищенные
- ПРИБОРЫ ПРИЕМНО-КОТРОЛЬНЫЕ ВЗРЫВОЗАЩИЩЕННЫЕ
- Блоки управления взрывозащищенные
- Системы и средства пожаротушения взрывозащищенные
- СИСТЕМЫ ВИДЕОНАБЛЮДЕНИЯ ВЗРЫВОЗАЩИЩЕННЫЕ
- Термокожухи взрывозащищенные
- ОБОРУДОВАНИЕ СКУД ВЗРЫВОЗАЩИЩЕННОЕ
- Электромагнитные замки, защелки взрывозащищенные
- Кнопки выхода взрывозащищенные
- БАРЬЕРЫ ИСКРОБЕЗОПАСНОСТИ
- Барьеры искрозащиты
- Блоки защиты взрывозащищенные
-
СИСТЕМЫ ВИДЕОНАБЛЮДЕНИЯ
- ВИДЕОРЕГИСТРАТОРЫ
- IP Видеорегистраторы
- Видеорегистраторы карточки в работе
- AHD Видеорегистраторы
- Аналоговые Видеорегистраторы
- Гибридные Видеорегистраторы
- ВИДЕОКАМЕРЫ
- Видеокамеры карточки в работе
- AHD-ВИДЕОКАМЕРЫ
- IP-ВИДЕОКАМЕРЫ
- АНАЛОГОВЫЕ ВИДЕОКАМЕРЫ
- HD-CVI-ВИДЕОКАМЕРЫ
- HD-TVI-ВИДЕОКАМЕРЫ
- ВИДЕОКОНФЕРЕНЦ СВЯЗЬ
- Конференция
- Системы видеоконференцсвязи Polycom
- ОБЪЕКТИВЫ ДЛЯ КАМЕР ВИДЕОНАБЛЮДЕНИЯ
- АНАЛОГОВЫЕ ОБЪЕКТИВЫ
- МЕГАПИКСЕЛЬНЫЕ ОБЪЕКТИВЫ
- СИСТЕМЫ ПЕРЕДАЧИ ВИДЕОСИГНАЛА
- Видеоусилители
- Активные премопередатчики видеосигнала
- Распределители видео и аудиосигнала
- Разветвители видеосигнала
- Универсальные передатчики и приемники
- ТЕРМОКОЖУХИ, КРОНШТЕЙНЫ, АКСЕССУАРЫ
- Кронштейны
- Вспомогательное оборудование
- Термокожухи
- УСТРОЙСТВА ОБРАБОТКИ ВИДЕОСИГНАЛА
- Видеосервер
- Коммутаторы
- Квадраторы
- Платы видеозахвата
- ГОТОВЫЕ КОМПЛЕКТЫ ВИДЕОНАБЛЮДЕНИЯ
- Готовый комплект видеонаблюдения на 1 камеру
- Готовый комплект видеонаблюдения на 4 камеры
- ПРОГРАММНОЕ ОБЕСПЕЧЕНИЕ ДЛЯ СИСТЕМ ВИДЕОНАБЛЮДЕНИЯ
- ПО Trassir
- ПО Itrium
- ПО VideoNet
- ИЗМЕРИТЕЛЬНОЕ ОБОРУДОВАНИЕ ДЛЯ ВИДЕОНАБЛЮДЕНИЯ
- Тестовые мониторы и тестеры
- МОНИТОРЫ ВИДЕОНАБЛЮДЕНИЯ
- LCD-мониторы для видеонаблюдения
- ЖК мониторы для видеонаблюдения
- УСТРОЙСТВА ЗАЩИТЫ ОБОРУДОВАНИЯ
- Устройства защиты линий (витая пара и коаксиалка)
- Устройства защиты цепей питания
- ДОПОЛНИТЕЛЬНОЕ ОБОРУДОВАНИЕ ВИДЕОНАБЛЮДЕНИЯ
- Микрофоны
- Муляжи видеокамер
- ИК Прожектора
- ЭЛЕКТРОННЫЕ ВИДЕОГЛАЗКИ
- Видеоглазки с проводом
- КЛАВИАТУРЫ, КОНТРОЛЛЕРЫ, ПУЛЬТЫ УПРАВЛЕНИЯ
- Пульты управления
- Новинки
- ЗАКАЗНОЕ ОБОРУДОВАНИЕ (СПЕЦ.ПРАЙС)
- ИНСТРУМЕНТ И ОСНАСТКА
- ИСТОЧНИКИ ЭЛЕКТРОПИТАНИЯ
-
КАБЕЛЬНАЯ ПРОДУКЦИЯ
- Кабель Акустический
- Кабель Бронированный
- ПРОВОД ТЕРМОСТОЙКИЙ
- КАБЕЛЬ СИЛОВОЙ
- С БУМАЖНОЙ ИЗОЛЯЦИЕЙ
- С ПВХ ИЗОЛЯЦИЕЙ
- С ОБОЛОЧКОЙ ИЗ ПОЛИМЕРОВ (HF)
- С ПВХ ИЗОЛЯЦИЕЙ БРОНИРОВАННЫЙ
- С РЕЗИНОВОЙ ИЗОЛЯЦИЕЙ
- Кабель Радиовещания
- Кабель СКС
- КАБЕЛЬ КОНТРОЛЬНЫЙ И УПРАВЛЕНИЯ
- Кабель контрольный (медный)
- Кабель контрольный (алюминиевый)
- Кабель управления
- Кабеля Аудио,Видео,Питания, HDMI
- КАБЕЛЬ ПЕРЕДАЧИ ДАННЫХ
- Кабели симметричные для ИНТЕРФЕЙСА RS-485
- LAN-КАБЕЛЬ (ВИТАЯ ПАРА)
- ВОЛОКОННО-ОПТИЧЕСКИЙ КАБЕЛЬ
- КОАКСИАЛЬНЫЙ КАБЕЛЬ (RG, SAT)
- КАБЕЛЬ СВЯЗИ
- Радиочастотный кабель
- Кабель телефонный
- КАБЕЛЬ СИГНАЛИЗАЦИИ И БЛОКИРОВКИ
- Кабель для систем ОПС и СОУЭ огнестойкий, с низким
- Огнестойкая кабельная линия.
- Огнестойкий для групповой прокладки
- Огнестойкий кабель
- Пожарный кабель
- Слаботочный охранный кабель
- Слаботочный пожарный кабель
- Термостойкий кабель
- ПРОВОДА И ШНУРЫ
- Провода установочные
- ПРОВОДА С МЕДНОЙ ТОКОПРОВОДЯЩЕЙ ЖИЛОЙ
- Провода соединительные
- КАБЕЛЬ УНИВЕРСАЛЬНЫЙ
- Кабель монтажный универсальный
- КОМПЬЮТЕРЫ И КОМПЛЕКТУЮЩИЕ
- КОНТРОЛЬНО-ИЗМЕРИТЕЛЬНЫЕ ПРИБОРЫ (КИПиА)
-
МОНТАЖНЫЕ и РАСХОДНЫЕ МАТЕРИАЛЫ
- LEGRAND
- АВВ
- Аксессуары для кабель-канала
- Аксессуары для труб
- Акссесуары к профилю
- Буры, сверла, круги
- Гефест расходники (ФЛМЗ)
- Кабельные каналы металлические
- Коробки монтажные огнестойкие IP41
- Коробки монтажные огнестойкие IP66
- Крепеж из состава Кабельной линии "Гефест"
- Краски
- Изолента и прочее
- Инженерная сантехника
- Кабель-канал
- Разъемы, джеки, коннекторы
- Коробки монтажные
- Крепёж
- Крепёж-клипса
- Крышки
- Лотки
- Маркировка, бирки
- Металл
- Металлорукав
- Металлорукав Fortisflex
- Металлорукав Герда
- Металлорукав Промрукав
- Металлорукав прочих пр-лей
- Монтажные и расходные материалы
- Герметики, пена монтажная
- Прочее
- Муфты
- Ответвители
- Отводы
- Профили
- Скобы
- Стяжки
- Термоусадки, протяжки, трубка ПВХ
- Труба гофрированная
- Труба гофрированная из ПНД
- Труба жесткая
- Углы-Повороты-стыки
- Шины гибкие, Бирка кабельная
- Шины нулевые
- Электроустановочные изделия
- СВЕТОТЕХНИЧЕСКОЕ ОБОРУДОВАНИЕ
-
ПОЖАРОТУШЕНИЕ И АВТОМАТИЗАЦИЯ
- ВЕНТИЛЯЦИЯ И ОБОГРЕВ
- Блоки и пульты управления для систем дымоудаления
- Датчики, Вентиляторы
- Модули вентиляции
- Табло взрывозащищенные
- ИНЖЕНЕРНАЯ САНТЕХНИКА
- ПРЕДОХРАНИТЕЛЬНАЯ АРМАТУРА
- ТРУБЫ
- ФИТИНГИ
- АЭРОЗОЛЬНОЕ ПОЖАРОТУШЕНИЕ
- Генераторы огнетушащего аэрозоля (ГОА)
- Модули аэрозольного пожаротушения
- Комплектующие к оросителям
- ПОЖАРНЫЕ СТВОЛЫ И АРМАТУРА
- Пожарные головки муфтовые
- Пожарные головки цапковые
- КОМПОНЕНТЫ К УСТАНОВКАМ ПОЖАРОТУШЕНИЯ
- Пожарные головки переходные
- Ручные пожарные стволы
- Лафетные пожарные стволы
- Пожарные головки заглушки
- ТАБЛИЧКИ, ЗНАКИ, ПЛАНЫ
- Знаки электробезопасности
- Знаки пожарной безопасности
- ТРУБОПРОВОДНАЯ АРМАТУРА
- Клапаны
- Задвижки
- Вентили
- Пожарные краны
- БЕССВАРНЫЕ МУФТОВЫЕ СОЕДИНЕНИЯ
- ОГНЕТУШАЩИЕ, ОГНЕЗАЩИТНЫЕ СОСТАВЫ И СМЕСИ
- Огнетушащие составы
- ВОДЯНОЕ ПОЖАРОТУШЕНИЕ
- Модульные установки водяного пожаротушения
- Пенное пожаротушение
- Оросители, распылители
- Пожарные резервуары (РДВ)
- Установки для водоснабжения
- Трубы, соединители пожаротушения
- Модули пожаротушения тонкораспыленной водой
- Насосы
- ГАЗОВОЕ ПОЖАРОТУШЕНИЕ
- Модули газового пожаротушения
- Тара
- Запорно-пусковые устройства
- Насадок (распылитель) газовые
- Комплектующие к модулям пожаротушения
- ОГНЕТУШИТЕЛИ
- Огнетушители самосрабатывающие (ОС)
- Огнетушители углекислотные (ОУ)
- Огнетушители воздушно-пенные (ОВП)
- Огнетушители воздушно-эмульсионные (ОВЭ)
- Огнетушители порошковые (ОП)
- Ранцевые (ОР)
- ПОЖАРНЫЕ РУКАВА
- Латексированные пожарные рукава
- Рукава высокого давления
- Рукава напорные
- Рукава с двухсторонним покрытием
- ПОЖАРНЫЕ ШКАФЫ, ЩИТЫ, ЯЩИКИ
- Шкафы пожарные
- Ящики пожарные
- Комплектующий инвентарь
- ПОРОШКОВОЕ ПОЖАРОТУШЕНИЕ
- Модули порошкового пожаротушения
- Насадок (распылитель) порошковые
- Установки порошкового пожаротушения
- ПРИБОРЫ УПРАВЛЕНИЯ ПОЖАРОТУШЕНИЕМ
- Модули управления вентиляцией и дымоудалением
- Системы автоматического пожаротушения
- Модули управления пожаротушением
- Системы и средства пожаротушения
- Блоки управления пожаротушением
- Сигнализаторы потока, давления
- Дымососы
- Шкафы управления пожаротушением
-
ПРОМЫШЛЕННОЕ СЕТЕВОЕ ОБОРУДОВАНИЕ
- Шлюзы
- Оптика
- Для монтажа оптического кабеля
- Оптика
- Оптические кроссы
- КОММУТАТОРЫ
- Cisco
- D-Link
- Коммутаторы сети
- Моха
- Hikvision
- Сетевое оборудование проводное
- Трансиверы (SFP-модули)
- Трансиверы (SFP-модули)
- D-LINK
- Усилители
- SFP ОПТИЧЕСКИЕ, ИНТЕРФЕЙСНЫЕ МОДУЛИ
- Интерфейсные модули
- Комплектующие
- Комплектующие
- Программное обеспечение промышленное
- Маршрутизаторы
- Марштрутизатор
- БЕСПРОВОДНАЯ СВЯЗЬ
- Модемы
- СИСТЕМЫ ВЫЗОВА ПЕРСОНАЛА
-
СКУД
- Eff Eff
- Parsec
- Smartec СКУД
- Диспечеризация
- ДОВОДЧИКИ
- DORMA
- NOTEDO
- Доводчики
- ДОМОФОНЫ
- IP-домофония
- Аудиодомофоны
- Блоки вызова
- Блоки коммутации
- Видеодомофоны
- Дополнительное оборудование ВИЗИТ
- Комплекты домофонов
- Мониторы видеодомофона
- Переговорные устройства
- Трубки домофонов
- Панели,Дверные блоки
- Переговорные устройства
- ЗАМКИ, ЗАЩЕЛКИ, КОМПЛЕКТУЮЩИЕ
- Замки, защелки и аксессуары
- Комплектующие
- Замки электромагнитные
- Защелки электромеханические
- Замки электромеханические
- ЗИП и аксессуары
- КНОПКИ ВЫХОДА РАЗЛИЧНЫХ ПРОИЗВОДИТЕЛЕЙ
- Кнопки выхода
- Накладные кнопки выхода
- Коммутаторы
- Контроллеры и идентификаторы доступа
- Сетевые контроллеры
- Считыватели
- Турникеты
- OMA
- Perco
- Praktika
- CARDDEX
- Шлагбаумы и автоматика
- Металлодетекторы
- РАСПАШНЫЕ ВОРОТА
- DoorHan
- СКУД Програмное обеспечение
- ParsecNET 3
- АНТИТЕРРОСТИЧЕСКОЕ ОБОРУДОВАНИЕ
-
системы аудио вещания и оповещения
- Гарнитуры и переговорные устройства
- Дополнительное к речевому оповещению
- НТК Темас
- Полисервис
- Приборы управления речевым оповещением
- Пульты управления речевого оповещения
- Селекторы речевого оповещения
- Системы оповещения, музыкальной трансляции
- INTER-M
- JDM-JEDIA
- ROXTON
- TOA
- ТРОМБОН
- МЕТА
- Усилители речевого оповещения
- Элес
- Колонки, блоки акустические, громкоговорители
- Колонки, блоки акустические, громкоговорители
- Вокальные радиосистемы
- ОБОРУДОВАНИЕ для ШТРИХ-КОДИРОВАНИЯ, идентификации
-
СРЕДСТВА И СИСТЕМЫ ОХРАННО-ПОЖАРНОЙ СИГНАЛИЗАЦИИ
- Устройство коммутации и диагностики
- ADEMCO
- GSM-сигнализация
- Optex
- Pyronix
- ИМПРОКОМ
- Антенны
- БОЛИД Интегрированная система
- Гефест
- НИКИРЭТ
- Дополнительное(кронштейны)
- ИЗВЕЩАТЕЛИ
- ДАТЧИКИ
- ДОПОЛНИТЕЛЬНОЕ ОБОРУДОВАНИЕ
- ОХРАННЫЕ ИЗВЕЩАТЕЛИ
- ПОЖАРНЫЕ ИЗВЕЩАТЕЛИ
- АВАРИЙНЫЕ ИЗВЕЩАТЕЛИ
- ИК ТСО "Стрелец-часовой"
- ИНТЕГРИРОВАННАЯ СИСТЕМА "БОЛИД"
- Вспомогательные устройства для источников питания
- Преобразователи интерфейсов
- Интегрированная система "Стрелец-Интеграл"
- Мониторинговые системы
- ОПОВЕЩАТЕЛИ
- Оповещатели
- Оповещатели звуковые
- Оповещатели световые (ТАБЛО)
- ПОЖАРНОЕ ОБОРУДОВАНИЕ ESMI
- Приборы контроля и управления ESMI
- Монтажные комплекты
- ПРИБОРЫ ПРИЕМНО-КОНТРОЛЬНЫЕ УПР-Я И ИНДИКАЦИИ
- Приборы приемно-контрольные
- Приборы специальные и дополнительные устройства
- АДРЕСНАЯ СИСТЕМА "РУБЕЖ"
- Протокол R1
- Протокол R3
- Радиоканальные и GSM системы
- Радиоканальные датчики
- Радиоканальные и GSM системы
- Альтоника
- РИТМ-Контакт
- Риэлта Адресная
- Рубеж аналоговое оборудование
- СВИТ
- СИГМА-ИС
- Сименс
- Сирены
- Системы передачи извещений
- Система передачи извещений
- Преобразователи интерфейсов
- Текон-Автоматика
- Тестеры для извещателей
- ТЭКО (астры)
- Устройства дополнительные для ОПС
- Шкаф аппаратуры коммутации (ШАК)
- Шкаф управления
- Электротехника и Автоматика
- Система пожарной сигнализации «Посейдон-Н-Е»
- Аварийные светильники
- Програмное обеспечение ОПС
- ITV
- СПИ "Юпитер"
- ТЕЛЕВИДЕНИЕ И РАДИО
- ТЕЛЕФОНИЯ
- ЧАСИФИКАЦИЯ
-
ТЕЛЕКОММУНИКАЦИЯ Шкафы, стойки и компоненты СКС
- AESP
- Блоки розеток
- Вентиляторные модули к шкафам
- Оптические панели и аксессуары
- Органайзеры
- Патч-корды, коммутационные шнуры
- Патч-панели
- Шкафы, стойки
- ШКАФЫ ТЕЛЕКОММУНИКАЦИОННЫЕ
- Напольные шкафы
- Шкафы Настенные телеком.
- КОМПЛЕКТУЮЩИЕ И АКСЕССУАРЫ ДЛЯ ШКАФОВ И СТОЕК
- Органайзеры кабельные
- Вентиляторы, вентиляторные полки
- Полки фиксированные, консольные, выдвижные
-
ЭЛЕКТРООБОРУДОВАНИЕ И ЭЛЕКТРОПИТАНИЕ
- Диоды
- Звонки, посты
- ИЭК
- Колодки, клеммы
- Коробки Установочные в бетон
- Коробки Установочные в гипсокартон
- Наконечники
- Предохранители, электронные компоненты
- Разъемы
- Резисторы
- Розетки, выключатели
- Сетевые фильтры и удлинители
- Трансформаторы
- ИЗДЕЛИЯ ДЛЯ ЭЛЕКТРОМОНТАЖА
- ИЗДЕЛИЯ ДЛЯ ИЗОЛЯЦИИ, КРЕПЛЕНИЯ И МАРКЕРОВКИ
- КАБЕЛЕНЕСУЩИЕ СИСТЕМЫ
- КОРОБКИ РАСПРЕДЕЛИТЕЛЬНЫЕ МОНТАЖНЫЕ
- КАБЕЛЬНАЯ АРМАТУРА
- НИЗКОВОЛЬТНОЕ ОБОРУДОВАНИЕ
- АППАРАТЫ ЗАЩИТЫ
- СВЕТОСИГНАЛЬНАЯ АППАРАТУРА
- ПРИБОРЫ КОНТРОЛЯ И СИГНАЛИЗАЦИИ
- ЩИТЫ И ШКАФЫ
- КЛЕММЫ, КЛЕММНЫЕ БЛОКИ И НУЛЕВЫЕ ШИНЫ
- КОМПЛЕКТУЮЩИЕ И АКСЕССУАРЫ ДЛЯ ЭЩО
- ЩИТОВОЕ ОБОРУДОВАНИЕ
- Джостики
- АРХИВ Товары АТМ
Новости
11.04.2024
Изменение цен на отдельные товары
08.08.2023
Иземенния в режиме работы компании
Подписка на новости магазина
Подпишитесь на рассылку и получайте свежие новости и акции нашего магазина.
- Главная страница
- •
- Каталог товаров
- •
- КОНТРОЛЬНО-ИЗМЕРИТЕЛЬНЫЕ ПРИБОРЫ (КИПиА),
- •
- Манометры, КОНТРОЛЬНО-ИЗМЕРИТЕЛЬНЫЕ ПРИБОРЫ (КИПиА)
- •
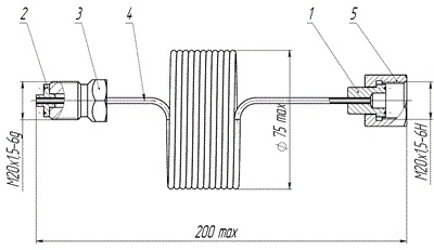
- Рукав соединительный мод.-55004 (L=2,5м, нерж., до 25МПа, гайка/штуцер М20х1,5(вну/нар) ) — трубка(, КОНТРОЛЬНО-ИЗМЕРИТЕЛЬНЫЕ ПРИБОРЫ (КИПиА) / Манометры








В корзину
Купить в 1 клик
В избранное
К сравнению
Под заказ


